Spinner


as

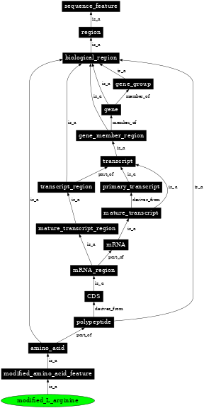
modified_L_arginine    (RELEASE_2.5.3)

SO Accession: SO:0001406 (SOWiki)
Definition: A post translationally modified arginine amino acid feature.
Synonyms: ModArg, modified L arginine, modified L-arginine
DB Xrefs: SO: ke

Parent: modified_amino_acid_feature (SO:0001385)
In the image below graph nodes link to the appropriate terms. Clicking the image background will toggle the image between large and small formats.
Graph image for SO:0001406